客戶服(fu)務
| 地址: | 河(he)北省泊頭市(shì)道東街88号 |
| 電(dian)話: | 0317-8185077 |
| 0317-8263980 | |
| 0317-8223128 | |
| 傳真: | 0317-8265584 |
| E-mail: | [email protected] |
| 螺杆泵(bèng)結構圖 |
| 發布(bù)時間:2017-7-16 15:44:16 點擊次(cì)數: |
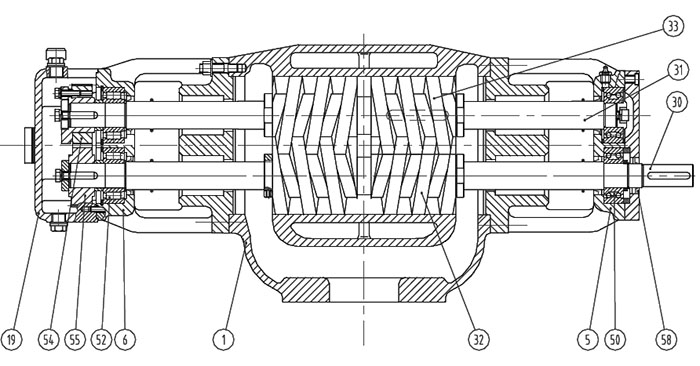
很多客戶(hù)在使用螺杆(gǎn)泵的過程中(zhong),由于使用時(shi)間太長或者(zhe)誤操作,造成(cheng)某個部件的(de)損害,但在購(gòu)買配件過程(chéng)中,不⭐了解泵(beng)的結果或者(zhě)不知道部件(jian)的名稱,造成(chéng)客戶和商家(jia)溝通不🍓暢,為(wei)方便客戶購(gòu)買配件,特将(jiang)單螺杆泵,雙(shuang)螺杆泵和三(sān)螺杆泵的結(jié)構圖發布到(dào)網站上,供客(kè)戶參考. 一、單(dan)螺杆泵: ![]() 1.傳動軸 2.軸承(cheng)壓蓋 3.單列軸(zhóu)承 4.托架 5.雙列(liè)軸承 6.機械密(mi)封 7.密封腔室(shì) 8.萬向節 9.連接(jie)軸 10.吸入管 11.螺(luó)杆 12.襯套 13.壓出(chū)管 二、雙螺杆(gan)泵 50.雙列 1.泵體 2.襯套(tào) 3.前蓋 4.後蓋 5.填(tián)料箱 6.泵底腳(jiǎo) 7.蓋闆 8.平衡套(tào) 9.支撐墊☂️ 10.潤✉️滑(huá)環🈲 11.間隔套 12.主(zhu)動螺杆 |
版權所(suǒ)有:保定万协(xie)重工制造有(you)限责任公司(sī)(3G网站) 電話:0317-8183535
傳(chuan)真:0317-8265584 E-mail:[email protected]備案号:冀(jì)ICP05010751号-3
傳(chuan)真:0317-8265584 E-mail:[email protected]備案号:冀(jì)ICP05010751号-3


1.泵體(tǐ) 5.前軸承座 6.後(hou)軸承座 19.齒輪(lún)箱 30.主動軸 31.從(cóng)動軸 32.螺旋套(tào)(左/右) 33.螺旋套(tao)(左/右).jpg)